NUCLEO 4
Espólio
FÁBRICA FRANZINA
Conjunto constituído por 13 facas de uso doméstico, produzidas pela Fábrica Joaquim Franzina.
As peças seguem os parâmetros definidos no catálogo técnico da fábrica, nomeadamente no que se refere ao comprimento, acabamento e proporções formais. INV. FC0025.25DFC.D.B.
Bancada alta proveniente do espólio da Fábrica Catalã, composta por tampo em madeira e estrutura inferior com pés e compartimentos em metal. INV. FC0027.25D.MF.A1.
Posto de trabalho duplo, concebido com recorte específico para dois apoios e dois orifícios destinados ao acondicionamento de objetos pessoais do traçador ou do escolhedor — designadamente: facas corticeiras (curva e reta), pé-de-linhas e pedra de amolar.
Faca Franzina. N°6 Ref B do Catálogo. Aço inox, cabo oliveira, extremidade direita, lâmina 25cm X 3,25cm , cabo 13cm. INV. FC0028.25D.FC.B
Faca Franzina. N°6 Ref D do Catálogo. Aço inox, cabo oliveira, extremidade direita, lâmina 25cm X 3,25cm , cabo 13cm. INV. FC0029.25D.FC.B
Caixa de madeira com lâminas de aço inox INV. FC0030.25D.CM.B
Faca Franzina. N°3 Ref D do Catálogo. Aço inox, cabo oliveira, direita, lâmina 16 cm X 2,5 cm, cabo 11,5 cm. INV. FC0031.25D.FC.B
Faca Franzina. N°3 Ref B do Catálogo. Aço inox, cabo oliveira, bico, lâmina 16 cm X 2,5 cm, cabo 11,5 cm. INV. FC0032.25D.FC.B
Faca Franzina. N°3 Ref C do Catálogo. Aço inox, cabo oliveira, bico à costa, lâmina 16 cm X 2,5 cm, cabo 11,5 cm. INV. FC0033.25D.FC.B
Faca Franzina. Sangradeira, dimensões não constam no Catálogo. Aço inox, cabo oliveira, lâmina 20 cm X 2,8 cm, cabo 9,75 cm. INV. FC0034.25D.S.B
Faca Franzina. N°5 Ref D do Catálogo. Aço inox, cabo oliveira, bico, lâmina 21 cm X 3,25 cm, cabo 12 cm. INV. FC0035.25D.FC.B
Conjunto de carimbos, alguns da marca "Joaquim Franzina: aço inox" INV. FC0036.25D.I.B
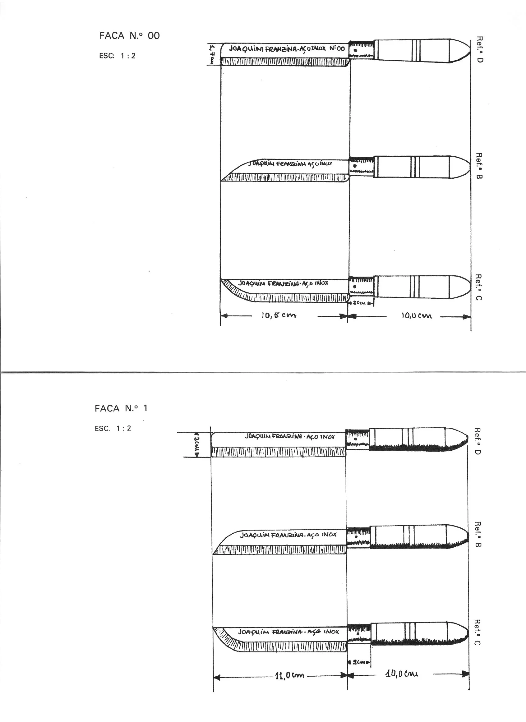
Faca Franzina. N°00 Ref D do Catálogo. Aço inox, cabo oliveira, extremidade direita, lâmina 10,5cm X 2 cm , cabo 10cm. INV. FC0037.25D.FC.B
Três folhas soltas do catalógo Franzina, com desenhos recto-verso e preços anotados. INV. FC0038.25D.D.B

